En rundlöpcirkel med svenskt påbrå.
Efter att jag först publicerade detta har jag fått fram ytterligare uppgifter om John. Delvis genom ytterligare efterforskningar via en släktforskningssida på nätet. Genom den sidan fick jag kontakt med Johns barnbarn Bob. Bob bor i Massachusetts och skrev om sina minnen av John. Bobs första bil – en Mercury från 1949 – ärvde han när John gått bort.
Jag har kompletterat med Bobs uppgifter i texten nedan.

En Mercury från nätet.
John E Kämpe var en av 1,2 miljoner svenskar som emigrerade till USA. John Edvin föddes i Bjuv strax utanför Malmö den 4 september 1879 och dog i USA 8 januari 1978.
J E Kämpe var son till urmakaren Anders Kempe (född i Tibbarp, Bjuv) och Gustafva Johannesdotter. Vid år 1900 års folkräkning (21 år gammal) finns han som boende i Blekinge tillsammans med 35 personer på samma adress (samtliga urmakeriarbetare). Det tog en sekund innan polletten ramlade ner – Halda!
Adressen anges till S. Öijavad N:o 2 Halda 145.
Henning Hammarlund – grundare av Halda – uppförde ett arbetarehem med matsalar och sovrum.
John måste alltså varit en av de urmakeriarbetare som tillverkade Halda fickur.
Man kan spekulera om John lärde yrket av sin far eller via den utbildning man hade internt på Haldafabriken. Jag vet inte när John började på Haldafabriken, men på tidiga bilder från fabriken ser man att de flesta arbetarna var barn. Den yngste arbetaren enligt folkräkningen 1900 var 14 år.
Några kommentarer till utdraget ur folkräkningslängden. Förutom Henning Hammarlund med fru och pigor bodde även urmakarna Carl Borgström (startade AB Urfabriken – ABU 1920) och Johan Gustav Blomqvist här. De senare anställdes för att kunna producera de första fickuren omkring 1890. År 1901 hade Haldafabriken totalt 58 arbetare. Vid denna tid utvecklades flera nya produkter och tillverkningen av taxametrar och telemetrar tog fart vid 1903.
Jag har skrivit lite om Halda i ett tidigare inlägg.
Det finns en uppgift i en husförslängd från Reslöv (nära Eslöv) att han var boende på Ängslotten no 31 och att han var inflyttad dit 24/11 1902. Vad jag fått fram så emigrerade han den 23/9 1903 till USA. Under resan träffade han sin blivande hustru Ellen Wilhelmina (född Seehausen från Skåne). De slog sig ner i Waltham, Massachusetts. där han jobbade på den kända urfabriken Waltham Watch Company. En adress jag fått fram där de bodde år 1920 är Newton Street nr 350. Bob berättar att just denna gata på sydsidan av staden Waltham var befolkad av många svenskar.

Efter en tid startade han ett eget företag specialiserat på verktyg. Från 1914 till 1931 tillverkade han urrelaterade verktyg och utrustning. I slutet av sin karriär sysslade han med urreparationer och tillverkning av stenar.
John och Ellen fick fyra barn – Olga (gift Swanson) (John bodde en tid hos Olga), Jennie (gift Andersen, enligt Bob en av Walthams största släkter) (Olga och Jennie var aktiva i Swedenborgkyrkan, de försökte bevara sitt svenska arv genom seder och bruk.), Helen och Herbert (Bobs far). Förutom Walthams urfabrik jobbade även John på Howard Clock Company. John hjälpte även sin son Herbert i hans bilverkstad.
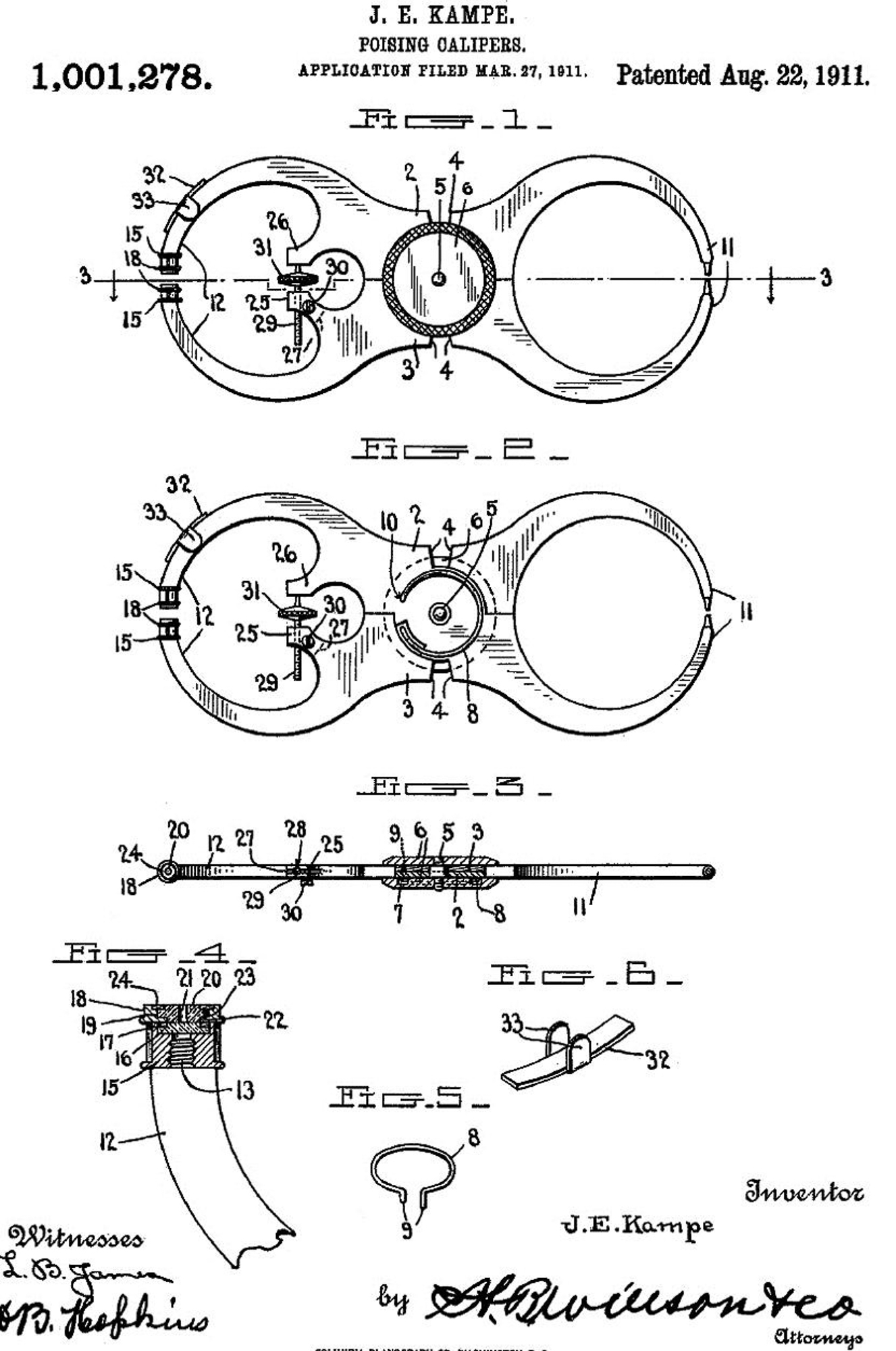
J E Kampe fick patent på fyra verktyg, en speciell syftningslinjal för rundlöpcirkeln (848,831 år 1907); rundlöp- avvägnings-cirkel (1,001,1278 år 1911), en förbättrad version på rundlöpcirkeln (2,039,226 år 1935) samt patent på en speciell urmakarskruvmejsel. (1,361,335 år 1920).
Man tillverkade även en svarv med 50 mm dubbhöjd för 9 mm patroner.
Mitt verktyg har jag ärvt av en urmakare som i sin tur fått det från en urmakare ”Per i Hagen” som hade urverkstad i stadsdelen Hagen i Göteborg. Per hade jobbat i USA och hade detta verktyg med sig hem därifrån.
God Jul!

Källor:
http://www.lathes.co.uk/kampe/
https://patents.google.com/?inventor=John+E+Kampe
Statistiska Centralbyrån (SCB) – samlingspost, Utdrag ur födelse-, vigsel- och dödböcker 1860-1949, SE/RA/420401/01/H 1 AA/659 (1879)
Riksarkivet, Folkräkningar (Sveriges befolkning) 1900
Google maps
Carrosantigos
Halda – en svensk fickurfabrik. Sandström, Carlsson och Sjunnesson 1987.
Muntligt av Erik Hultkrantz
E-post december 2020 av Bob Kampe, Williamstown, Massachusetts




